Stellantis Patents Fake Engine Vibrations for EVs
February 21st, 2024

When Dodge previewed its Fratzonic Chambered Exhaust for the all-electric Charger Daytona SRT concept (pictured), enthusiasts were divided. Some thought the idea of a faux exhaust system, designed to help EVs mimic the howl of a V8, was a cringe-worthy gimmick. But others felt it broke new ground in terms of vehicular sound design and would ensure electric cars could retain some of the magic of combustion vehicles. Regardless of which camp you happen to staked your tent, parent company Stellantis has continued on with the premise and has likewise patented a system that creates fake engine vibrations to further the illusion of combustion-derived propulsion.
The patent was actually published with the World Intellectual Property Organization (WIPO) in May of last year. However, our market failed to take notice until someone tipped off Mopar Insiders last week.
Stellantis has found itself in a tricky situation since buying up the former Fiat Chrysler properties. Brands like Dodge are decidedly American and have a clientele that’s about as EV averse as you’ll likely find anywhere in the developed world. Mopar fans have an overwhelming penchant for V8 motors and minor obsession with the glory days of American muscle. However, like all Stellantis brands, corporate leadership has said it’s supposed to pivot toward smaller engines and electrification.
This has not gone over well with die-hard fans of the marquee, especially those worried about European influence. Stellantis knows this and has been developing devices that effectively help EVs mimic the experience of riding within a raucous combustion-engined automobile. Previewing the 126-dB Fratzonic Chambered Exhaust was the first step. This was followed immediately by the “eRupt multi-speed transmission” that looks to simulate shifting. We now have the company patenting phony engine vibrations, which will undoubtedly appear in electrified versions of the Dodge Charger if the company can figure out how to make it work.
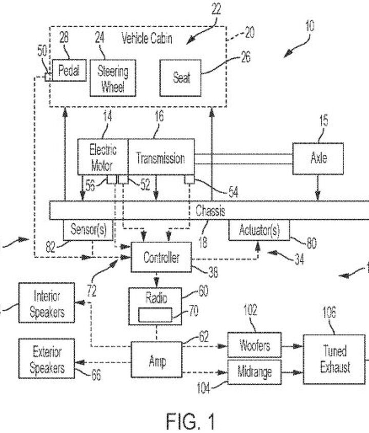
The patented vibration device falls under the “Active Sound Enhancement” (ASE) umbrella. Based on the details provided in the related documents, it will work in conjunction with the fake engine noises future Stellantis products will presumably offer.
From Mopar Insiders:
The ASE system is at the forefront of Stellantis’ mission to make EVs more appealing and accessible to a broader audience. It addresses a common concern with EVs: their near-silent operation, which can pose safety challenges for pedestrians. To overcome this, Stellantis engineers have developed a system that not only replicates the authentic engine sounds of ICE vehicles but also simulates the tactile sensations of driving one.
At its core, the ASE system utilizes a sophisticated setup that combines sensor technology with advanced signal processing. Sensors strategically placed throughout the vehicle monitor various parameters such as motor speed, acceleration, wheel speed, and torque. This real-time data is then fed to a central controller, which orchestrates the generation of engine sounds tailored to the driving conditions.
However, Stellantis goes beyond just recreating sound. They recognize that the driving experience is multi-sensory, which is why they’ve integrated the Active Vibration Enhancement (AVE) system alongside ASE. AVE complements ASE by generating vibrations within the vehicle’s structure that mimic those produced by an ICE engine. These vibrations, transmitted through the vehicle body to the occupants, create a sensation akin to driving a traditional sports/muscle car.

Electric vehicles are interesting from a performance perspective. Instantaneous torque can result in some truly incredible acceleration at lower speeds. But the event is still bizarrely placid due to the vehicle lacking an engine or traditional transmission to offer the additional feedback we normally associate with powerful automobiles. EVs also have a tendency to lose their might as they approach highway velocities, where the pageantry of a high-revving combustion motor with extra forward gears gulping down air really starts to come into play.
Stellantis is clearly trying to address all of the above. Faux engine noises and vibrations are likely to be on-demand features you can shut down when you don’t want them and will spring to life whenever you want a more intense experience. Meanwhile, novel transmissions will help simulate shift points (adding to driving engagement) and may even improve EV acceleration at higher speeds if the design is intended to do more than simply simulate gearing.
The Active Vibration Enhancement rig uses a “force generator coupled to the vehicle’s body or chassis. But it’s supposed to be able to focus vibration to specific points throughout the vehicle, such as the steering wheel or seats. There will be loads of customization and an “ immersive driving experience, particularly for enthusiasts accustomed to the visceral sensations of ICE vehicles.”
It’s hard to know exactly how to feel about the above concepts. Stellantis is addressing the exact kind of complaints the Dodge clientele already has with electric vehicles. But there’s something about the above that is still somewhat irksome. Loading a vehicle up with loads of artificial vibration points seems like it would add significant production costs and needless amounts of complexity. Granted, your author curses faulty tire pressure sensors, so there’s definitely some amount of bias present here.
But it’s just not evident that the juice will be worth the squeeze on everyday models, especially as EV saturation looks to have peaked for the time being and we’re seeing our market shifting away from combustion vehicles boasting lofty price tags. There’s no way sound enhancement devices won’t be heavily monetized if the automaker thinks there’s money to be made.
That said, I suppose many would like to at least have the option to simulate some rumble on an EV. But those features will need to be packaged in a way that’s truly impressive and priced low enough to rationalize. At the end of the day, it feels like Stellantis has correctly identified a comprehensive solution to a problem it has ironically enough created for itself. These experiential enhancements are ultimately gimmicks designed to replace something you used to be allowed to have and presumably still want — or else what was the point of Stellantis developing them in the first place?
[Images: Stellantis, WIPO]
Become a TTAC insider. Get the latest news, features, TTAC takes, and everything else that gets to the truth about cars first by subscribing to our newsletter.




